Насосы циркуляционные Ридан RW представляют собой одноступенчатые центробежные насосы с мокрым ротором и предназначены для циркуляции теплоносителя в различных бытовых, коммерческих и промышленных системах.
Основные характеристики:
- Расход: 0,16–37 м3/ч.
- Напор: 0,4–20 м.
- Номинальный диаметр: DN 15–80 мм.
- Максимальное рабочее давление: PN 10 бар.
- Температура перекачиваемой жидкости: –20…110 °С.
- Температура окружающей среды: 0…40 °С.
- Класс изоляции (ГОСТ Р МЭК 60085-2011): H
- Степень защиты (ГОСТ 14254-2015): IP44
ОБЛАСТИ ПРИМЕНЕНИЯ ЦИРКУЛЯЦИОННЫХ НАСОСОВ РИДАН RW
Насосы RW могут быть использованы в качестве циркуляционных и смесительных насосов:
- в одно- и двухтрубных системах отопления;
- в системах теплых полов;
- в системах горячего водоснабжения;
- в системах вентиляции и кондиционирования воздуха;
- в системах рекуперации и др.
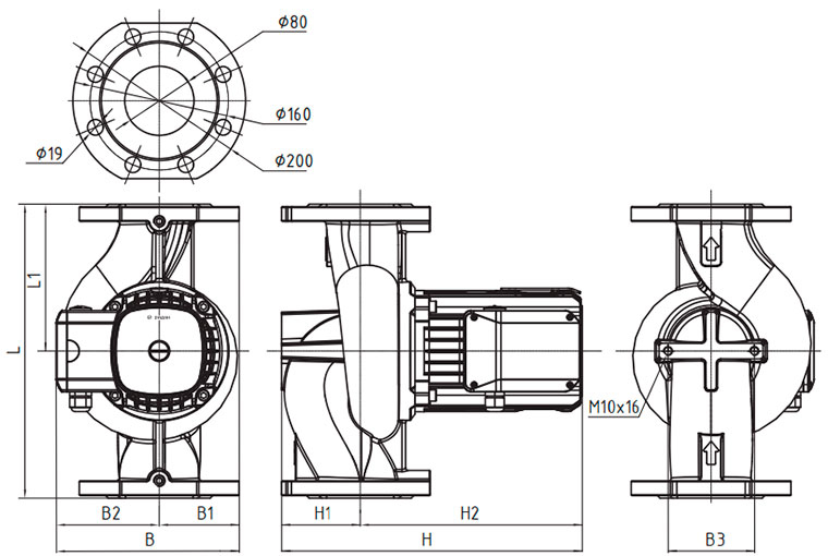
ТЕХНИЧЕСКИЕ ХАРАКТЕРИСТИКИ И РАЗМЕРЫ ЦИРКУЛЯЦИОННЫХ НАСОСОВ РИДАН RWS 80-120FT

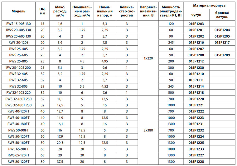
Кодовый номер |
Модель |
L, мм |
L1, мм |
H, мм |
H1, мм |
H2, мм |
B, мм |
B1, мм |
B2, мм |
B3, мм |
Присоеди нение |
Вес нетто, кг |
Вес брутто, кг |
015P1228 |
RWS 80-120FT |
360 |
180 |
347 |
90 |
257 |
219 |
100 |
119 |
100 |
DN80 PN10 |
26,5 |
36,5 |

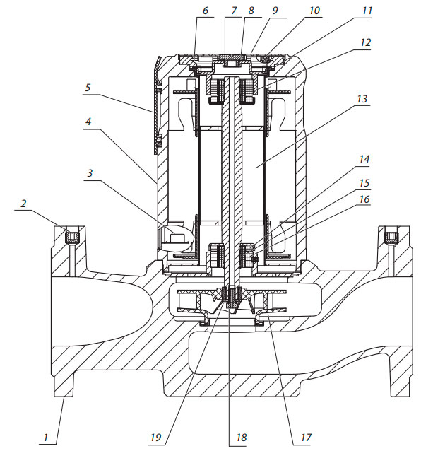
Поз. |
Наименование |
Материал |
1 |
Корпус насоса |
Чугун HT200 с катафорезным покрытием |
2 |
Заглушка |
Нерж. сталь 09Cr19Ni10 |
3 |
Болт с шестигранной головкой |
Сталь гальванизированная |
4 |
Корпус статора |
Алюминиевый сплав ZAlSi7Mg |
5 |
Пластина с логотипом |
Пластик ABS |
6 |
Прижимная пластина |
Алюминиевый сплав YL102 |
7 |
Резьбовая пробка |
Латунь HPb59-1 никелированная |
8 |
Уплотнительное кольцо |
EPDM |
9 |
Шильдик |
Пластик PA6 |
10 |
Болт |
Углеродистая сталь |
11 |
Гильза статора |
Нерж. сталь 09Cr19Ni10 |
12 |
Верхний упорный подшипник в сборе |
Карбид кремния SSiC |
13 |
Ротор в сборе |
Вал: нерж. cталь 2Cr13 |
14 |
Нижний упорный подшипник |
Карбид кремния SSiC |
15 |
Втулка |
Карбид кремния SsiC |
16 |
Радиальный подшипник |
Карбид кремния SsiC |
17 |
Рабочее колесо |
Композит PP0+20GF |
18 |
Винт |
Нерж. сталь 09Cr19Ni10 |
19 |
Шайба |
Нерж. сталь 09Cr19Ni10 |
ОСНОВНЫЕ ТЕХНИЧЕСКИЕ ХАРАКТЕРИСТИКИ

1 онлайн гипермаркет Ридан предлагает купить циркуляционные насосы с мокрым ротором Ридан RWS 80-120FT по цене производителя. Наши специалисты помогут подобрать и рассчитать необходимое насосное оборудование, отталкиваясь от требований клиента.